Удобный шоурум (Славянский Мир)
Демонстрационный стенд с разными производителями
- 732 000 руб.
- ЦЕНА: 658 800 руб.
-
Нашли дешевле?
Сделаем еще выгоднее!
Описание данного товара
Дымосос Exodraft RSV016-4-1 (Экзодрафт RSV016-4-1) — устройство, предназначенное для более эффективного удаления продуктов сгорания при эксплуатации печи или камина, работающего на твердом топливе. Данная модель устанавливается на окончание стального, керамического или кирпичного дымохода.
Направление выброса — вертикальное, монтажная площадка с 4-угольным основанием. Максимальная производительность устройства составляет 3400 м³/ч. Напряжение — 230 Вольт. Макс. рабочая температура газов — 250 °C. Степень защиты мотора — IP54.
Модель снабжена закрытым огнеупорным асинхронным двигателем на шарикоподшипниках и лопастным мотором, который легко очищается благодаря откидному механизму. Охлаждающее лопастное колесо и отверстия подачи холодного воздуха обеспечат постоянное охлаждение двигателя. В выпускное отверстие для дополнительной защиты установлена сетка из нержавеющей стали.
Дымосос RSV подойдет:
- для районов с сильными ветрами;
- если дымоход ниже или выше конька крыши;
- если крыша здания выполнена из соломы.
Для установки потребуются система управления и дополнительные монтажные элементы.
Дымососы Exodraft RSV

Дымоходные вентиляторы Exodraft RSV — устройства для принудительного вертикального выброса дымовых газов температурой до 250 °C от печей и каминов, работающих на твердом топливе. Максимальная производительность моделей — от 700 до 3400 м³/ч, скорость — 1400 оборотов в минуту. Степень защиты мотора — IP54.
Серия снабжена закрытым огнеупорным асинхронным двигателем на шарикоподшипниках и лопастным мотором, который легко очищается благодаря откидному механизму. Охлаждающее лопастное колесо и отверстия подачи холодного воздуха обеспечат постоянное охлаждение двигателя. В выпускное отверстие для дополнительной защиты установлена сетка из нержавеющей стали.
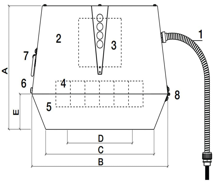
Дымосос Exodraft RSV состоит из следующих элементов:

- Провод для подвода электричества.
- Верхняя часть дымососа.
- Мотор.
- Лопасть.
- Нижняя часть дымососа.
- Блокировочные винты.
- Ручка для подъема или открытия дымососа.
- Блокирующий винт.
В серии RSV все модели снабжены четырехугольным основанием. Дымососы могут устанавливаться в дымоходах, высота которых больше конька крыши, но кроме того, они подойдут:
- для районов с сильными ветрами;
- если дымоход ниже конька крыши;
- если крыша здания выполнена из соломы.
Таблица для удобства подбора дымососа Exodraft RSV, исходя из площади стекла устройства, представлена ниже. Требования и условия: дымоход высотой от 2 до 8 метров; не больше двух отводов под углом 90°; отсутствие прочих вентиляторов и вытяжек.
| Дымоход | Камин | Печь-камин | |||
|---|---|---|---|---|---|
| Диаметр дымохода | Площадь по стеклу в открытом режиме* | ||||
| max 0.3 м² | max 0.5 м² | max 0.8 м² | max 1.2 м² | max 0.15 м² | |
| 150 мм | RSV012 | RSV014 | - | - | RSV009 |
| 200 мм | RSV009 | RSV012 | RSV014 | - | RSV009 |
| 250 мм | RSV009** | RSV012 | RSV012 | RSV014 | RSV009** |
| 300 мм | RSV009** | RSV012* | RSV012* | RSV014 | RSV009** |
*1) площадь у камина с двухсторонним и трехсторонним стеклом считается по формуле — высота умножить на сумму длин; 2) у печей-каминов площадь очага при открытой дверце. |
|||||
| **Если нет подходящего фланца или площадки на дымоход под указанный в таблице дымосос, можно установить следующий по параметрам дымосос. | |||||
Дымососы Exodraft

Во время розжига печи или камина вы можете столкнуться с одной из следующих проблем и возможными причинами их появления:
- Сложности при розжиге — неправильный тип дров или во время установки дымохода не были соблюдены все правила и нормы.
- Поступление дыма в помещение — из-за недостаточной тяги в дымоходе (неверный расчет вентиляции, окружающая среда, искусственные и природные препятствия), резких переходов в диаметре или избыточной длины дымохода.
- Пламя гаснет сразу после растопки — слабый или непостоянный приток воздуха.
Все эти недостатки решаются установкой дымососа Exodraft. Это устройства, монтируемые в верхней части стального, керамического или кирпичного дымохода, снабженные лопастным мотором, обеспечивающим горизонтальный или вертикальный выброс дымовых газов.
Дымососы Exodraft предназначены для печей и каминов, работающих на твердом топливе. Они могут эксплуатироваться как в частных домах, так и на промышленных объектах. Конструкция дымососов выдерживает длительное воздействие дымовых газов температурой до 250 °C (до 700 °C в серии RSHT) и стабильную работу в условиях значительного загрязнения.
Для монтажа полноценной дымососной системы вам понадобится:
- Дымосос.
- Фланец для установки дымососа на дымоход и крышка изоляции (в случае, если дымоход стальной).
- Плита из минеральной ваты (часто в комплекте).
- Система управления дымососом — от ручных с проводным подключением до более сложных дистанционных вариантов.
- Ревизионный выключатель.
- Прочие аксессуары.
О компании Exodraft

Exodraft — бренд из Дании, занимающийся разработкой и производством дымососов для каминов и печей уже практически 70 лет. Exodraft является крупнейшей компанией на рынке дымососов, продукция экспортируется в более чем 40 стран. Дымососы бренда предназначены как для домашнего использования, так и для промышленных предприятий (пиццерии, рестораны, пекарни, высокотемпературные производства и так далее).
При производстве дымососов применяются материалы только высшего качества и самые современные технологии. Все изделия полностью сертифицированы и отвечают мировым стандартам.
| Характеристики товара | |
| Тип товара | Аксессуары для камина |
| Высота (мм) | 380 |
| Ширина (мм) | 580 |
| Глубина (мм) | 580 |
| Вес (кг) | 35 |
| Направление выброса | Вертикальное |
| Страна производства | Дания |
| Цвет | Черный |
| Производительность (м3/ч) | 3400 |
| Мощность (Вт) | 320 |
| Уровень шума, дБа 10м: | 44 |
| Степень защиты | IP54 |
| Кол-во оборотов в минуту | 1400 |
| Рабочая температура (С) | 250 |
| Гарантия | 2 года |
| Максимальный ток (А) | 1.8 |
| Вид дымохода | Стальной | Керамический | Кирпичный |
| Напряжение (В) | 230 |
Инструкции и файлы
PDF Руководство по монтажу дымососов Exodraft RSV (933.18KB)PDF Руководство по эксплуатации дымососов Exodraft RSV (790.34KB)
PDF Руководство дымососы Exodraft RSV (2026 г., Англ.) (1.24MB)
PDF Тех. лист дымососы Exodraft RSV (2024 г., Англ.) (187.59KB)
9:00 - 19:00 (сб.-вс.)















